继电器像开关一样,可以串联或并联在电路中执行简单的逻辑任务。这种继电器的组合叫做逻辑门(logic gates)。继电器优于开关之处就在于,继电器可以被其他继电器所控制,而不必由人工控制。这就意味着,这些简单的逻辑门组合起来可以实现更复杂的功能,例如一些简单的算术操作。我们用 0 表示开关断开,用 1 表示开关闭合。以下器件都由继电器构成。
缓冲器

这也叫做缓冲器(buffer),可用如下符号表示。缓冲器的输入与输出是相同的。

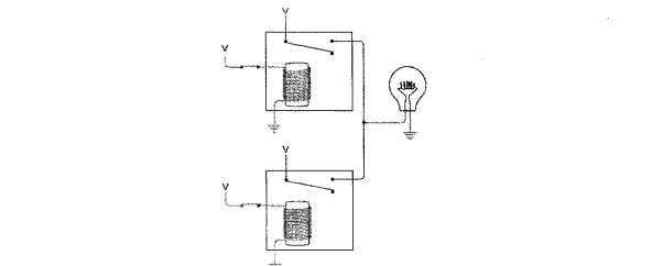
与门
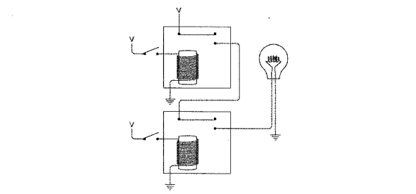
下图电路的两个继电器串联。当两个开关都断开时,灯泡不发光。

只闭合上面或下面的开关,灯泡仍然不发光。


同时闭合两个开关,灯泡亮了。

电气工程师用如下专门的符号表示一个与门。

与门开关的关系可用下表的与运算来描述。
| AND | 0 | 1 |
|---|---|---|
| 0 | 0 | 0 |
| 1 | 0 | 1 |
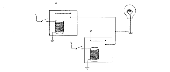
或门
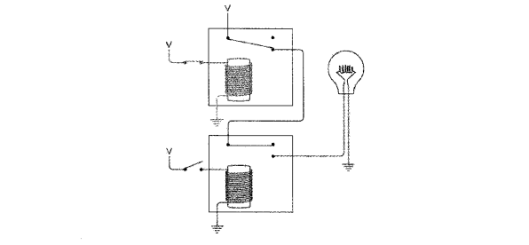
下图电路的两个继电器并联。当两个开关都断开时,灯泡不发光。

只闭合上面或下面的开关,灯光均会发光。


同时闭合两个开关,灯泡亮了。

电气工程师用如下专门的符号表示一个或门。

或门开关的关系可用下表的或运算来描述。
| OR | 0 | 1 |
|---|---|---|
| 0 | 0 | 1 |
| 1 | 1 | 1 |
反向器
下图的电路使用了另一种连接方式,在开关断开时灯泡被点亮,与之前的电路相反。以这种方式连接的继电器叫做反向器(inverter)。反向器不是逻辑门。

反向器可用如下专门符号来表示。

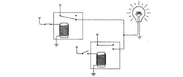
或非门
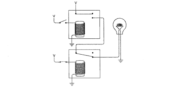
两个继电器全部断开时,灯泡发光。

只闭合上面或下面的开关,灯泡均会熄灭。


同时闭合两个开关,灯泡熄灭。

或非门用以下符号表示,除去输出部分的小圆圈,这个符号与或门非常相像。

小圆圈表示“反向”,所以或非门也可以用下面的符号表示。

或非门的结果与或门相反,或非门的关系可用下表来描述。
| NOR | 0 | 1 |
|---|---|---|
| 0 | 1 | 0 |
| 1 | 0 | 0 |
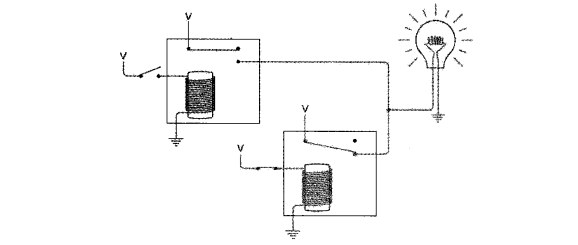
与非门
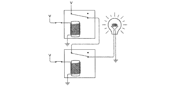
两个断电器全部断开时,灯光发光。

只闭合上面或下面的开关,灯光仍然发光。


同时闭合两个开关,灯光熄灭。

与非门的符号如下,和与门类似,但在输出部位多了一个小圆圈,意思是输出和与门正好相反。

与非门的关系如下表所示。
| NAND | 0 | 1 |
|---|---|---|
| 0 | 1 | 1 |
| 1 | 1 | 0 |
异或门
将或门和与非门以与门方式连接在一起,就得到异或门(XOR),如下图。

| 输入 A | 输入 B | 或门输出 | 与非门输出 | 与门输出 |
|---|---|---|---|---|
| 0 | 0 | 0 | 1 | 0 |
| 0 | 1 | 1 | 1 | 1 |
| 1 | 0 | 1 | 1 | 1 |
| 1 | 1 | 1 | 0 | 0 |
上表整理如下。
| XOR | 0 | 1 |
|---|---|---|
| 0 | 0 | 1 |
| 1 | 1 | 0 |